ELECTRICALS - Designing and new solutions for electrical components

NOVELTY !



E33 - Edison thread fittings of 33mm - (1.30in) for lamps electrical connection


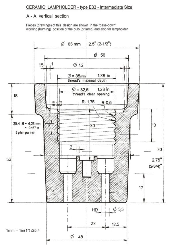
Pieces (drawings) of this design are shown in the “base-down” working (burning) position of the bulb (or lamp) and also for lampholder.

Dimensions are mainly shown in millimeters. 1mm=1in/25.4


Example of screw bases of E33 size


High E33 bulb base - lateral view.

Short E33 bulb base - lateral view.



Ceramic Lampholder of E33 size


Ceramic E33 lampholder - lateral view.

Ceramic E33 lampholder - top view.

Ceramic E33 lampholder - A-A vertical section.

Ceramic E33 lampholder - B-B vertical section.

Ceramic E33 lampholder - C-C vertical section.

Ceramic E33 lampholder - Bottom view.

Ceramic E33 lampholder - Small pieces.




NOVELTY !
Read more about !


ELECTRIC LIGHTING BULB BASES "E33"

"Edison 33" pressed (deep drawn) plate thread bulb bases

WARNING ! !!

This type of electrical connection (as technical solution, mark, or identification criteria), used for bulbs (or lamps) bases, which represents a bipollar electrical (thread) fitting with an in-going "Edison 33" (33 millimeters or 1.30 inch - thread size) pressed (deep drawn) plate lateral contact, and a central end contact, as well as the match size of lampholder with over-going "Edison 33" thread, belongs already to the Public Domain !

Designs (that consist of detailed mechanical drawings images) exposed in this web page belong to Electricals-Designing staff, and may be unrestricted used for bulbs, and all kind of lamps manufacturing.

Samples of E33 bulb base fixed (atached) to HID (mercury, sodium, metal-halide) lamps, incandescent and halogen, as well as to LED lamps, were already exhibited at technical fairs and exhibitions.

There were also exposed ceramic E33 lampholders, with "Edison 33" (E33) fitting, suitable for the E33 bulb bases.

The name "intermediate" of this kind of lampholder is a common word (as well as "medium" is), and may be unrestricted used, too.

The short form is : "INT" or "E33" ; as also is "MED" or "E27", and "Mog" or "E40".

The recognization name "E33" is also used in electrical domain.



Utilisation proposal :

This kind of Edison33 thread is already used for some electrical fuses of 35 to 63 A.

The next used bulb thread base size after the E27 (or medium), is the E40 (or Mogul) one.
The E40 base is about 2,25 times larger in cross area, 2,35...2,4 times larger in lateral area, and about 3,45...3,5 times bigger in volume, like the E27 base.
All this values are estimated.

Due to european standards, for instance, the HID mercury lamps of 125 Watt have E27 base, while those of 250, 400, 700, 1000 Watt have E40 base.

If we divided the wattage of any lamp to the whole base outside volume it resulting some certain reports.




Therefore, we may conclude the folowings :


For a ratio (repport) of 9,25...9,3 the 400 Watt HID lamp may be consideded as well working.
This means that the E40 thread base is outsized (oversized) of 2,3 times in case of using the same E40 base to a 175 mercury HID, and 4 times for a 100 Watt sodium HID, while the E27 base is insufficient (undersized) for this lamps.


Advantages

1 - All kind of use a smaller piece in stad of a larger one, every where is possible.

2 - Any kind of interchangeability restriction possibility.

3 - Any extension of "base up" burning position, if base heating (condition) restricts it, for low power (70 to 125 Watt) HID lamps.

4 - Most suitable for HID lamps using ED28 jacket (around height~223mm, diameter~92mm), or incandescent and halogen bulbs of 250-300 Watt .

5 - Avoid the use of E40 base for lamps using E40 in stad of E27 bases because of the ignition voltage.
Some low power HID sodium or metal halide lamps use E40 bases only because of the E27 base insulator is insufficient for the ignition voltage insulating.
In such of cases, the high E33 base with ceramic insulator may be very suitable.



Concerning this matters, there were designed two sizes of E33 bases :

- the 'high size', having a larger lateral area of thread plate and ceramic insulator, which is suitable for covering the heating condition, and therefore it may be used for higher (values of medium) power HID lamps (up to 250 Watt), or incandescent lamps up to 300 Watt.

- the 'short size', which has a smaller thread plate area, but almost the same insulation thickness, covers rather the ignition voltage insulating condition, than the heating one. It is more suitable for HID lamps that use E40 bases only for insulating condition (between base contact poles), and not for base overheating. (HPS 100, MHL150 Watt)



NOTICE !

Each manufacturer who intend to use E33 base for HID lamps using high voltage ignitors, must test the insulating betwen the thread plate and the central end contact.





Electricals © 2005 - All rights reserved
E33, Edison33, lampholder, socket, base, INT, bulb, lamp, HID, LED, E40, Mog, E27, Med

5547